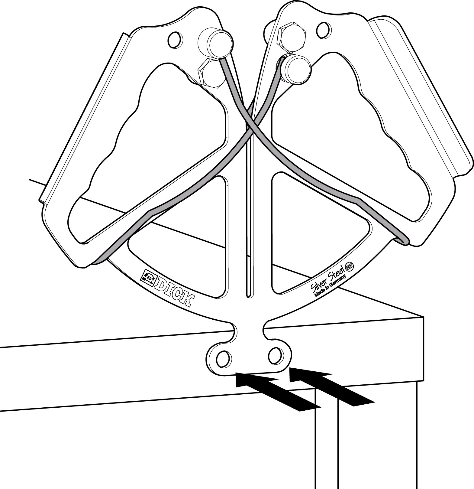
Features:
- Safe handling when used as hand-held device thanks to handle
- fastening eyes for fixing
- Completely made from stainless steel – no fragments of plastic in the meat
- Easy exchange of rods. Hygienic without springs
- Double the performance thanks to 4 rods
Sharpening made easy with the Silver Steel HyperDrill: Lean the knife blade slightly against one side of the slot while drawing the blade with light pressure through the rods. Repeat this action a few times and the result will be a razor sharp edge.














Reviews
There are no reviews yet.